Ferrari has filed patents for a novel, hybridized engine running on hydrogen and using forced induction via an electrically driven turbocharger setup.
In the patent filings, Ferrari proposes an I6 configuration, in an upside-down arrangement, though also suggests that either V6, V8 or V12 layouts could be used.
The use of H2 for fuel (with either direct or port injection covered) is a logical choice for a manufacturer that has expressed a wish to retain ICE for as long as possible. However, the choice of engine layout is certainly unconventional, and the forced induction system clearly draws on its experience in motorsport.
Packaging H2 tanks
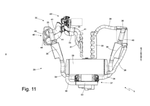
It would appear that the inverted arrangement is to enable packaging of the induction system and also a pair of hydrogen tanks (hence the I6 layout, which reduces the transverse width of the engine).
The forced induction system comprises two compressors and two turbines, which are not mechanically connected. The compressors are joined coaxially by a single electric motor, orientated above the engine, while the turbines are situated below the engine, side by side, with a geared drive to a second electric motor.
Also suggested is an option where separate motors are used for the two compressors. This layout has the extra complication of the compressors being mechanically linked to the ICE via the transmission with no exhaust turbine or electric motors. The patent says:
“This embodiment is energetically somewhat less efficient (not recovering some of the energy from the exhaust gases through the turbine unit 42) but is lighter, more compact and simpler by eliminating the electrical part altogether (in fact, neither the electric generator 54 of the turbine unit 42 nor the electric motor 50 of the compressor unit 37 are present).”
The patent also describes a front mounted MGU (motor generator unit) driving the front axle.
Of course, manufacturers file speculative patents all of the time, but Ferrari’s latest certainly shows that considerable thought has been put into the packaging challenges of an H2 ICE in a high-performance road car.



